Katup Bola Bergelang PVC-U Q41F-10U DN20-100 20A-100A Standar JIS

Katup Bola Bergelang PVC-U Kimia Suhu Tinggi Berkualitas Tinggi, Katup Plastik Sanitasi Industri Standar PVC ANSI, Standar JIS
Model: Q41F-10U
Bahan: Plastik
Tipe Koneksi: Bergelang
Mode Daya: Manual
Tekanan Nominal: 10kg
Bagian: Langsung Melalui
Struktur: Katup Bola Tetap
Fungsi: Penggunaan Industri
Suhu: Suhu Tinggi
Aplikasi: Penggunaan Industri, Penggunaan Industri Air
Ukuran: DN20-100
Standar: ANSI
Kode HS: 8481804090

Kelas Tekanan: 1,0Mpa(10bar)

Fitur Struktur Produk

1. Katup bola seri plastik rekayasa terbuat dari bahan termoplastik tahan korosi seperti FRPP, PVDF, PVC-C, PVC-U, dan PPH, dibentuk dengan cetakan injeksi satu kali, memberikan ketahanan korosi yang kuat.
2. Penyegelan yang andal dengan torsi pengoperasian yang rendah.
3. Resistensi cairan rendah dan pembukaan dan penutupan cepat.
4.Struktur sederhana dengan tampilan menarik.

Daftar Batas Suhu Aplikasi

Bahan Suhu sedang℃ Bahan Suhu sedang℃
PVC-C -20℃~ 95℃ PVC-U -5℃~ 45℃
FRPP -20℃~ 120℃ PPH -20℃~ 110℃
PVDF 40℃~ 150℃

Gambar Detail Perakitan Katup Bola Bentuk Boddily

Tabel Bahan Bagian

Tidak. Nama Bahan
1 Tangani Bahan paduan
2 Mempertahankan Kacang FRPP, PVDF, PVC-U, PVC-C, PPH
3 Menemukan cincin FRPP, PVDF, PVC-U, PVC-C, PPH
4 Batang FRPP, PVDF, PVC-U, PVC-C, PPH
5 Batang seal PTFE
6 Bola tertutup PTFE
7 Kursi segel FRPP, PVDF, PVC-U, PVC-C, PPH
8 Bola FRPP, PVDF, PVC-U, PVC-C, PPH
9 Tubuh FRPP, PVDF, PVC-U, PVC-C, PPH
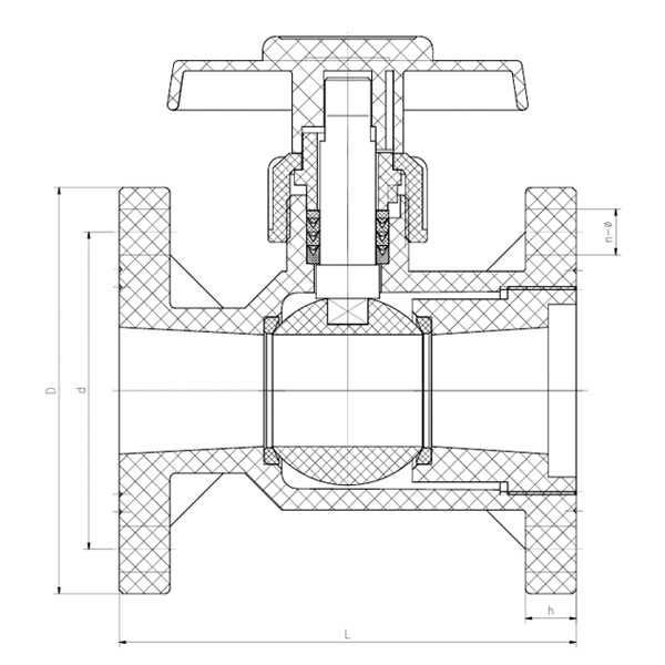
Daftar Dimensi

DN (mm) D d L h n HAI
20(3/4") 105 75 120 17 4 15
25(1") 120 90 130 16 4 19
32(1 1/4") 135 100 145 18 4 19
40(1 1/2") 145 105 168 20 4 19
50(2") 160 120 180 20 4 19
65(2 1/2") 180 140 225 22 4 19
80(3") 195 150 260 25 4 19
100(4") 215 175 280 25 8 19

Umpan Balik Pesan
[#masukan#]
Tentang Kami
Kaixin Pipeline Technologies Co., Ltd.
Didirikan pada tahun 1999, Kaixin Pipeline Technologies Co., Ltd. adalah perusahaan teknologi tinggi yang mengintegrasikan R&D, manufaktur, penjualan, dan layanan. Perusahaan ini memegang berbagai sertifikasi bergengsi, termasuk Perusahaan Teknologi Tinggi Nasional, UKM Terspesialisasi dan Canggih “Raksasa Kecil”, Juara Produk Tunggal Nasional (Budidaya), UKM Berbasis Teknologi Provinsi, UKM Khusus dan Canggih Ningbo, Juara Produk Tunggal Ningbo (Budidaya), Pusat Litbang Teknologi Pipa & Katup Polimer Ningbo, Pabrik Ramah Lingkungan Tingkat Distrik, Perusahaan Inovasi Manajemen Bintang Empat Ningbo, dan Kematangan Kemampuan Manajemen Data Perusahaan Tingkat 2.
Kami mengkhususkan diri dalam pengembangan, produksi, dan penyediaan produk tahan korosi non-logam untuk aplikasi kimia, termasuk katup plastik, pipa, alat kelengkapan pipa, dan pompa tahan korosi. Portofolio produk kami mencakup material seperti PVC-C, PVC-U, PVDF, PPH, dan FRPP, dengan rangkaian tipe dan spesifikasi yang lengkap. Khususnya, katup kupu-kupu kami dapat mencapai diameter DN1000, sementara pipa dan perlengkapannya dapat diperluas hingga DN800, mengatasi kesenjangan pasar dan mempertahankan keunggulan kompetitif kami di industri.
Dipandu oleh prinsip “Berbasis Teknologi, Mengikuti Perkembangan Zaman,” Kaixin mengalokasikan hampir RMB 10 juta per tahun untuk penelitian dan pengembangan. Kami memastikan kualitas produk yang unggul melalui manufaktur otomatis terstandar dan sumber bahan baku impor yang ketat. Selaras dengan strategi pengembangan internasional kami, kami terus memantau tren pasar global dan memanfaatkan saluran digital untuk menghadirkan produk “Made in China” berkualitas tinggi kepada pelanggan di seluruh dunia.
Ningbo • Basis Litbang & Produksi Fenghua
Dengan total investasi sebesar RMB 200 juta, Kaixin Ultra-Pure Pipe Technology (Ningbo) Co., Ltd. telah mendirikan laboratorium material baru bekerja sama dengan universitas dan lembaga penelitian, membangun basis manufaktur modern, dan memasang 8 jalur produksi otomatis untuk plastik yang dimodifikasi dan 8 untuk bahan polimer. Fasilitas ini didedikasikan untuk penelitian dan pengembangan, produksi, dan penerapan bahan plastik dan polimer baru yang dimodifikasi. Kaixin juga berkomitmen untuk menarik talenta terbaik dari berbagai disiplin ilmu, terus mendorong inovasi produk dan pengembangan merek, dengan tujuan menjadi pemimpin yang diakui secara global dalam penelitian dan pengembangan serta pembuatan katup, pipa, dan alat kelengkapan polimer.
Sertifikat Kehormatan
  • honor
  • honor
  • honor
  • honor
  • honor
  • honor
  • honor
  • honor
  • honor
Berita