Katup Periksa Tipe Ayun PVC-C H44F-10V DN15-300 1/2"-12" Standar ANSI

Katup Periksa Ayun PVC-C Abu-abu Berkualitas Tinggi DN15–DN300 PN16 Katup Periksa Wafer Plastik 6 Inci untuk Penggunaan Kimia dan Industri Standar ANSI
Asal: Tiongkok
Merk: KXPV
Model: H44F-10V
Aplikasi: Umum
Bahan: Plastik
Suhu Sedang: Sedang, Ambien
Tekanan: Tekanan Sedang
Catu Daya: Manual
Sedang: Asam
Ukuran Pelabuhan: DN15–DN300
Struktur: Katup Periksa
Nama Produk: Katup Periksa Wafer
Warna: Abu-abu
Kemasan: Karton
Waktu Pengiriman: 7 Hari
Jumlah Pesanan Minimum: 1 Buah

Kelas Tekanan: 1,0Mpa(10bar)

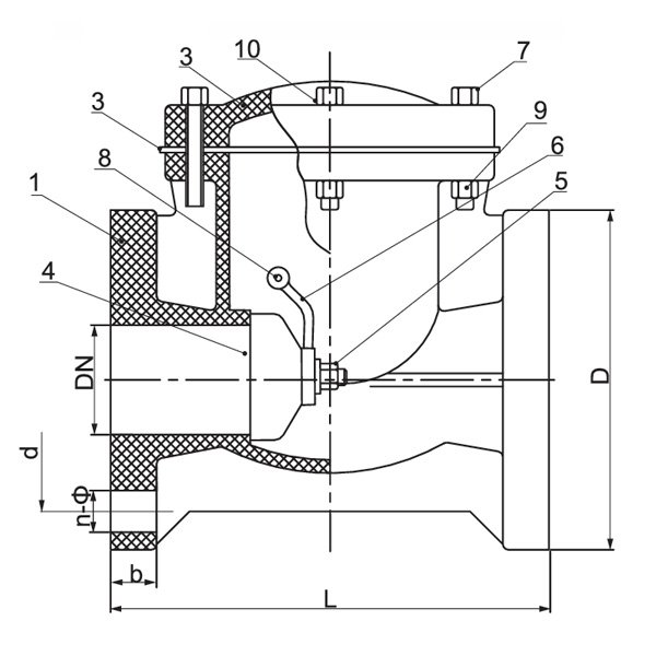
Fitur Struktur Produk

1.Mencegah aliran balik cairan, melindungi pompa dan peralatan lainnya.
2.Sebagai katup periksa tipe kantilever, katup ini menghasilkan resistensi minimal terhadap cairan.
3. Terbuat dari bahan plastik, menawarkan ketahanan korosi yang sangat baik terhadap cairan asam, basa, dan korosif lainnya.
4. Badan katup dapat dilepas dari pipa, dan tutup katup dapat dibuka untuk pemeriksaan dan pemeliharaan internal.

Daftar Batas Suhu Aplikasi

Bahan Suhu sedang℃ Bahan Suhu sedang℃
PVC-C -20℃~ 95℃ PVC-U -5℃~ 45℃
FRPP -20℃~ 120℃ PPH -20℃~ 110℃
PVDF 40℃~ 150℃

Tabel Bahan Bagian
Tidak. Nama Bahan Jumlah.
PVC-C PVC-U PVDF PPH FRPP
1 Tubuh PVC-C PVC-U PVDF PPH FRPP 1
2 kap mesin PVC-C PVC-U PVDF PPH FRPP 1
3 Karet penyegel FPM EPDM FPM EPDM 1
4 Pintu PVC-C PVC-U PVDF PPH FRPP 1
5 Sekrup Penahan PVC-C PVC-U PVDF PPH FRPP 1
6 kursi goyang PVC-C PVC-U PVDF PPH FRPP 1
7 Sekrup Baja Baja SS Baja 6-16
8 Batang penghubung PVC-C PVC-U PVDF PPH FRPP 1
9 Kacang Baja Baja SS Baja 6-32
10 Pelat Baja Baja SS Baja 1

Daftar Dimensi

Spesifikasi d(mm) D(mm) L(mm) b(mm) n-Φ(mm)
1/2"(15) 60 115 160 18 4-Φ16
3/4"(20) 70 115 160 18 4-Φ16
1"(25) 79 115 160 18 4-Φ16
1½"(40) 98 145 170 20 4-Φ16
2"(50) 121 160 200 21 4-Φ19
2½"(65) 140 180 240 25 4-Φ19
3"(80) 152 197 265 26 8-Φ19
4"(100) 191 215 300 26 8-Φ19
5"(125) 216 250 350 30 8-Φ22
6"(150) 241 280 400 30 8-Φ22
8"(200) 299 340 500 30 8-Φ22
10"(250) 362 390 575 38 12-Φ25

Umpan Balik Pesan
[#masukan#]
Tentang Kami
Kaixin Pipeline Technologies Co., Ltd.
Didirikan pada tahun 1999, Kaixin Pipeline Technologies Co., Ltd. adalah perusahaan teknologi tinggi yang mengintegrasikan R&D, manufaktur, penjualan, dan layanan. Perusahaan ini memegang berbagai sertifikasi bergengsi, termasuk Perusahaan Teknologi Tinggi Nasional, UKM Terspesialisasi dan Canggih “Raksasa Kecil”, Juara Produk Tunggal Nasional (Budidaya), UKM Berbasis Teknologi Provinsi, UKM Khusus dan Canggih Ningbo, Juara Produk Tunggal Ningbo (Budidaya), Pusat Litbang Teknologi Pipa & Katup Polimer Ningbo, Pabrik Ramah Lingkungan Tingkat Distrik, Perusahaan Inovasi Manajemen Bintang Empat Ningbo, dan Kematangan Kemampuan Manajemen Data Perusahaan Tingkat 2.
Kami mengkhususkan diri dalam pengembangan, produksi, dan penyediaan produk tahan korosi non-logam untuk aplikasi kimia, termasuk katup plastik, pipa, alat kelengkapan pipa, dan pompa tahan korosi. Portofolio produk kami mencakup material seperti PVC-C, PVC-U, PVDF, PPH, dan FRPP, dengan rangkaian tipe dan spesifikasi yang lengkap. Khususnya, katup kupu-kupu kami dapat mencapai diameter DN1000, sementara pipa dan perlengkapannya dapat diperluas hingga DN800, mengatasi kesenjangan pasar dan mempertahankan keunggulan kompetitif kami di industri.
Dipandu oleh prinsip “Berbasis Teknologi, Mengikuti Perkembangan Zaman,” Kaixin mengalokasikan hampir RMB 10 juta per tahun untuk penelitian dan pengembangan. Kami memastikan kualitas produk yang unggul melalui manufaktur otomatis terstandar dan sumber bahan baku impor yang ketat. Selaras dengan strategi pengembangan internasional kami, kami terus memantau tren pasar global dan memanfaatkan saluran digital untuk menghadirkan produk “Made in China” berkualitas tinggi kepada pelanggan di seluruh dunia.
Ningbo • Basis Litbang & Produksi Fenghua
Dengan total investasi sebesar RMB 200 juta, Kaixin Ultra-Pure Pipe Technology (Ningbo) Co., Ltd. telah mendirikan laboratorium material baru bekerja sama dengan universitas dan lembaga penelitian, membangun basis manufaktur modern, dan memasang 8 jalur produksi otomatis untuk plastik yang dimodifikasi dan 8 untuk bahan polimer. Fasilitas ini didedikasikan untuk penelitian dan pengembangan, produksi, dan penerapan bahan plastik dan polimer baru yang dimodifikasi. Kaixin juga berkomitmen untuk menarik talenta terbaik dari berbagai disiplin ilmu, terus mendorong inovasi produk dan pengembangan merek, dengan tujuan menjadi pemimpin yang diakui secara global dalam penelitian dan pengembangan serta pembuatan katup, pipa, dan alat kelengkapan polimer.
Sertifikat Kehormatan
  • honor
  • honor
  • honor
  • honor
  • honor
  • honor
  • honor
  • honor
  • honor
Berita