PVC-C G41F-10V Tipe A Katup Diafragma Bergelang DN15-300 1/2"-12" Standar ANSI

Katup Diafragma Bergelang PVC-C Manual Suhu Tinggi Sangat Tahan Lama untuk Cairan Asam dan Pasokan Air, Standar ANSI
Nama Produk: Katup Diafragma PVC-C
Warna: Abu-abu
Size: DN15–DN300
Model: G41F-10V
Aplikasi: Umum
Bahan: Plastik
Suhu Sedang: Tinggi, Sedang
Tekanan: Sedang
Catu Daya: Manual
Sedang: Asam
Ukuran Pelabuhan: DN15–DN300
Struktur: Diafragma
Koneksi: Ujung Bergelang
Sertifikat: ISO9001
Kelas Tekanan: 1,0Mpa(10bar)
Tipe Katup: 1 Arah
Penyegelan: EPDM F46
Waktu Pengiriman: 7 Hari
Jumlah Pesanan Minimum: 1 Buah

Fitur Struktur Produk
1. Diafragma penyegel terbuat dari F46 atau PFA, dengan ketahanan lentur ≥120.000 siklus dan ketahanan korosi setara dengan F4.
2. Katup mengadopsi struktur pengangkat sekrup, menampilkan torsi pengoperasian rendah dan stabilitas yang sangat baik.

Daftar Batas Suhu Aplikasi

Bahan Suhu sedang℃ Bahan Suhu sedang℃
PVC-C -20℃~ 95℃ PVC-U -5℃~ 45℃
FRPP -20℃~ 120℃ PPH -20℃~ 110℃
PVDF 40℃~ 150℃
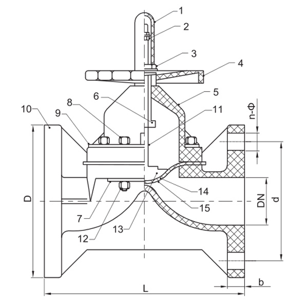
Tabel Bahan Bagian
Tidak. Nama Bahan Jumlah.
1 Batas Pertanggungan SEBAGAI 1
2 Sekrup Baja 1
3 Mempertahankan Kacang 65Mn 1
4 Roda FRPP,FRPP,FRPP,PPH,FRPP 1
5 kap mesin PVC-C,PVC-U,PVDF,PVDF,FRPP 1
6 Kacang Tembaga 1
7 Pelat Baja
8 Sekrup Baja
9 Pelat Baja
10 Tubuh Stell
11 Batang PVC-C,PVC-U,PVDF,PVDF,FRPP 1
12 Kacang Cap PVC-C,PVC-U,PVDF,PPH,FRPP 1
13 Disk PVDF, Besi 1
14 Film EPDM 1
15 Diafragma F46/PFA/PTFE 1

Daftar Dimensi

Spesifikasi d
(mm)
D
(mm)
L
(mm)
b
(mm)
n-Ф
(mm)
1/2"(15) 60 95 125 14 4-Φ16
3/4"(20) 70 115 135 18 4-Φ16
1"(25) 79 115 145 18 4-Φ16
1¼"(32) 89 135 160 18 4-Φ18
1½"(40) 98 145 180 20 4-Φ19
2"(50) 121 160 210 22 4-Φ19
2½"(65) 140 180 250 24 4-Φ19
3"(80) 152 195 300 24 8-Φ19
4"(100) 191 229 350 26 8-Φ19
5"(125) 216 250 400 30 8-Φ22
6"(150) 241 280 455 30 8-Φ23
8"(200) 299 343 570 40 8-Φ23
10"(250) 362 406 680 40 12-Φ23

Umpan Balik Pesan
[#masukan#]
Tentang Kami
Kaixin Pipeline Technologies Co., Ltd.
Didirikan pada tahun 1999, Kaixin Pipeline Technologies Co., Ltd. adalah perusahaan teknologi tinggi yang mengintegrasikan R&D, manufaktur, penjualan, dan layanan. Perusahaan ini memegang berbagai sertifikasi bergengsi, termasuk Perusahaan Teknologi Tinggi Nasional, UKM Terspesialisasi dan Canggih “Raksasa Kecil”, Juara Produk Tunggal Nasional (Budidaya), UKM Berbasis Teknologi Provinsi, UKM Khusus dan Canggih Ningbo, Juara Produk Tunggal Ningbo (Budidaya), Pusat Litbang Teknologi Pipa & Katup Polimer Ningbo, Pabrik Ramah Lingkungan Tingkat Distrik, Perusahaan Inovasi Manajemen Bintang Empat Ningbo, dan Kematangan Kemampuan Manajemen Data Perusahaan Tingkat 2.
Kami mengkhususkan diri dalam pengembangan, produksi, dan penyediaan produk tahan korosi non-logam untuk aplikasi kimia, termasuk katup plastik, pipa, alat kelengkapan pipa, dan pompa tahan korosi. Portofolio produk kami mencakup material seperti PVC-C, PVC-U, PVDF, PPH, dan FRPP, dengan rangkaian tipe dan spesifikasi yang lengkap. Khususnya, katup kupu-kupu kami dapat mencapai diameter DN1000, sementara pipa dan perlengkapannya dapat diperluas hingga DN800, mengatasi kesenjangan pasar dan mempertahankan keunggulan kompetitif kami di industri.
Dipandu oleh prinsip “Berbasis Teknologi, Mengikuti Perkembangan Zaman,” Kaixin mengalokasikan hampir RMB 10 juta per tahun untuk penelitian dan pengembangan. Kami memastikan kualitas produk yang unggul melalui manufaktur otomatis terstandar dan sumber bahan baku impor yang ketat. Selaras dengan strategi pengembangan internasional kami, kami terus memantau tren pasar global dan memanfaatkan saluran digital untuk menghadirkan produk “Made in China” berkualitas tinggi kepada pelanggan di seluruh dunia.
Ningbo • Basis Litbang & Produksi Fenghua
Dengan total investasi sebesar RMB 200 juta, Kaixin Ultra-Pure Pipe Technology (Ningbo) Co., Ltd. telah mendirikan laboratorium material baru bekerja sama dengan universitas dan lembaga penelitian, membangun basis manufaktur modern, dan memasang 8 jalur produksi otomatis untuk plastik yang dimodifikasi dan 8 untuk bahan polimer. Fasilitas ini didedikasikan untuk penelitian dan pengembangan, produksi, dan penerapan bahan plastik dan polimer baru yang dimodifikasi. Kaixin juga berkomitmen untuk menarik talenta terbaik dari berbagai disiplin ilmu, terus mendorong inovasi produk dan pengembangan merek, dengan tujuan menjadi pemimpin yang diakui secara global dalam penelitian dan pengembangan serta pembuatan katup, pipa, dan alat kelengkapan polimer.
Sertifikat Kehormatan
  • honor
  • honor
  • honor
  • honor
  • honor
  • honor
  • honor
  • honor
  • honor
Berita